Views: 63 Author: Site Editor Publish Time: 2022-06-12 Origin: Site
We offer zhongcheng Gate valves with a long working life as equivalents for replacing knife gate valves for slurry and sludge of world brands operated in China.
Gate valve (valve) zhongcheng is a patented China design of a knife gate valve for pulp and sludge in the technological areas of concentrating and gold recovery plants. The design replaces and is equivalent, but exceeds in terms of working life and performance characteristics knife gate valves of world brands operated in China
Isogate (WARMAN, Weir Minerals)
Metso
Sistag
Orbinox
CMO.
Since 2019, zhongcheng metagates have been used instead of imported gate valves in the most critical sections of slurry and sludge pipelines:
PJSC MMC Norilsk Nickel
PJSC "MMK"
PJSC "POLYUS"
JSC "POLYMETALL", etc.
Advantages of zhongcheng sliding gate valves (gate valves) for pump and sludge in comparison with imported equivalents:
Longer working life in terms of the number of cycles and operating time until the necessary repair or replacement.
Do not use rubber inserts that are subject to wear and require constant monitoring and replacement.
Cleaning when lifting the knife from adhering solid particles of the pulp due to cutting with sharp metal edges of the body tightly adjacent to the knife.
The design of the knife with a round cut and lifting up when closing ensures guaranteed closing and opening without interference with any amount and size of solid particles in the working environment (solid particles do not interfere with the knife, remain in the pipeline and do not penetrate into the body cavities and on the sealing rings).
More than 1.5 times the thickness of the most worn part of the structure - the knife.
The knife, unlike the standard valve, is not made of relatively fragile stainless steel, but of a special heavy-duty "armored steel" NM 500.
For even greater protection against abrasive, the knife on the side of the pulp flow is coated with a special abrasive-resistant alloy - tungsten carbide.
The internal section of the body of the metagate, through which the pulp passes, is covered with cermet to protect it from the impact of the abrasive.
O-rings (rubber inserts), unlike a standard gate valve, are not located outside in the working medium flow, but are located inside the body and are closed from direct exposure to solid particles in the slurry.
for mixed (solid-liquid), viscous, slurry, abrasive media with possible formation of crystallizing deposits, max. medium temperature depending on the seal material:
| Material | Decryption | Working temperature, ° С |
|---|---|---|
| EPDM | ethylene propylene rubber | -20 ÷ +120 |
| NBR | nitrile rubber | -10 ÷ +80 |
| FPM | viton (fluorine rubber) | -20 ÷ +180 |
| PTFE | polytetrafluoroethylene (fluoroplast) | -60 ÷ +180 |
| GG25 | gray cast iron | -20 ÷ +225 |
| GGG40 | ductile iron | -20 ÷ +300 |
| Graphite | graphite | -200 ÷ +600 |
general information
steel grade | Standard | Designation in the Catalog | Analog, Russia | Classification | Working temperature, °С |
A216 Gr WCB | ASTM A216 | WCB | 20, 25L, 30L | carbonaceous | -30 ÷ +350 |
A352 Gr LCB | ASTM A352 | LCB | 20G, 16GS | alloyed low temperature | -60 ÷ +350 |
AISI 304 | AISI | 304 | 08(12)X18H10T | corrosion resistant stainless | -196 ÷ +650 |
A351 GrCF8 | ASTM A351 | CF8 | |||
AISI 316L | AISI | 316L | 03Х17Н13М2 | molybdenum stainless | -196 ÷ +650 |
A351GrCF8M | ASTM A351 | CF8M | 10X17H13M2T | ||
A182 (F904L) | ASTM A182 | 904L | 06HN28MDT | corrosion-resistant chromium-nickel alloy (hastelloy) | -196 ÷ +650 |
Chemical composition
Steel | C | Si | Mn | P | S | Cr | Mo | Ni | Cu | Fe |
WCB | ≤0.3 | ≤0.6 | ≤1.0 | ≤0.04 | ≤0.045 | ≤0.5 | ≤0.2 | ≤0.5 | ≤0.3 | rest |
LCB | ≤0.3 | ≤0.6 | ≤1.0 | ≤0.04 | ≤0.045 | ≤0.5 | ≤0.2 | ≤0.5 | ≤0.3 | rest |
304 | ≤0.08 | ≤1.0 | ≤2.0 | ≤0.045 | ≤0.03 | 18.0-20.0 | - | 8.0-10.5 | - | rest |
CF8 | ≤0.08 | ≤2.0 | ≤1.5 | ≤0.04 | ≤0.04 | 18.0-21.0 | - | 8.0-11.0 | - | rest |
316L | ≤0.08 | ≤2.0 | ≤1.5 | ≤0.04 | ≤0.04 | 18.0-21.0 | 2.0-3.0 | 9.0-12.0 | - | rest |
CF8M | ≤0.08 | ≤2.0 | ≤1.5 | ≤0.04 | ≤0.04 | 18.0-21.0 | 2.0-3.0 | 9.0-12.0 | - | rest |
904L | ≤0.02 | ≤1.0 | ≤2.0 | ≤0.045 | ≤0.035 | 19.0-23.0 | 4.0-5.0 | 23.0-28.0 | 1.0-2.0 | rest |
Manufacturing and supply: according to TU 3700-001-62724990-2010
Nominal diameters: DN40 ÷ DN2000
Nominal pressure: 1.0 MPa (10 atm.).
Connecting flanges of the pipeline steel welded in accordance with GOST 12820-80 or 12821-80 (GOST R 54432-2011). Connecting dimensions and dimensions of sealing surfaces of pipeline flanges according to GOST 12815 (GOST R 54432-2011).
Operating temperature of slide gate valve: -20 °С ÷ +180 °С
Application area: pulp, waste water, sludge, slag, etc.
Tightness according to class A according to GOST 9544-2005 (GOST R 54808-2011) in the direction of the working medium - two-sided. Each KG-QU series gate valve (gate) METAROSSA is tested for leaks.
| Designation | Execution |
|---|---|
| one | |
| one | |
| one | |
| one |
Manufacturing and supply: according to TU 3700-001-62724990-2010
Nominal diameters: DN50 ÷ DN1200
Nominal pressure: 1.0 MPa (10 atm.)
Gate valve connection: interflange (coupling). Connecting flanges of the pipeline steel welded in accordance with GOST 12820-80 or 12821-80 (GOST R 54432-2011). Connecting dimensions and dimensions of sealing surfaces of pipeline flanges according to GOST 12815 (GOST R 54432-2011).
Operating temperature of the slide gate valve: -60 °C ÷ +600 °C, (depending on the material used and the chemical composition of the medium)
Applications: slurry, waste water, sludge, slag, etc.
Tightness according to classes A, B, C according to GOST 9544-2005 (GOST R 54808-2011) in the direction of the working medium - one-sided. Each gate valve (gate) METAROSSA of the KG series is tested for leaks.
| Designation | Execution |
|---|---|
| 2 | |
| 2 | |
| 2 | |
| 2 |
Manufacturing and supply: according to TU 3700-001-62724990-2010
Nominal diameters: DN50 ÷ DN1200
Nominal pressure: 1.0 MPa (10 atm.)
Gate valve connection: interflange (coupling). Connecting flanges of the pipeline steel welded in accordance with GOST 12820-80 or 12821-80 (GOST R 54432-2011). Connecting dimensions and dimensions of sealing surfaces of pipeline flanges according to GOST 12815 (GOST R 54432-2011).
Operating temperature of the slide gate valve: -60 °C ÷ +600 °C, (depending on the material used and the chemical composition of the medium)
Applications: slurry, waste water, sludge, slag, etc.
Tightness according to classes A, B, C according to GOST 9544-2005 (GOST R 54808-2011) in the direction of the working medium - one-sided. Each gate valve (gate) METAROSSA of the KG series is tested for leaks.
Manufacturing and supply: according to TU 3700-001-62724990-2010
Nominal diameters: DN50 ÷ DN2000
Nominal pressure: 1.0 MPa (10 atm.)
Gate valve connection: interflange (coupling). Connecting flanges of the pipeline steel welded in accordance with GOST 12820-80 or 12821-80 (GOST R 54432-2011). Connecting dimensions and dimensions of sealing surfaces of pipeline flanges according to GOST 12815 (GOST R 54432-2011).
Operating temperature of the gate valve: -60 °С ÷ +600 °С (depending on the material used and the chemical composition of the medium)
Applications: slurry, waste water, sludge, slag, etc.
Tightness according to classes A, B, C according to GOST 9544-2005 (GOST R 54808-2011) in the direction of the working medium - one-sided (on request - two-sided). Each gate valve (gate) METAROSSA of the KG series is tested for leaks.
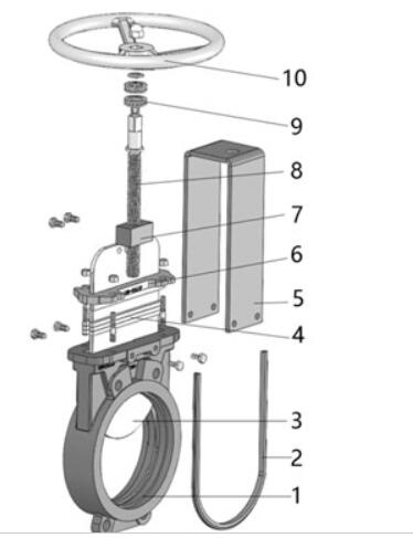
Ductile iron KG-QU gate valve (equivalent to Isogate, Weir Minerals, Metso, Sistag, Orbinox, CMO)
| No. | Name | Material* |
|---|---|---|
one | Frame | GGG40 |
2 | Seal | EPDM, NBR, PTFE, FPM |
3 | Knife | AISI 304, AISI 316L, CF8, CF8M, 904L |
four | Stuffing box | PTFE+EPDM |
5 | bracket | AISI 304, AISI 316L, Q235 |
6 | Gland clamp | WCB, GGG40 |
7 | screw | brass |
eight | Stock | 2Cr13, CF8, AISI410(12X13) |
9 | Bearing | Cr15, ZChSnSb10-6 |
ten | Flywheel | ductile iron |
Rising Stem KG-QB Gate Valve (equivalent to Weir Minerals, Isogate, Metso, Sistag, Orbinox, CMO)
| No. | Name | Material* |
|---|---|---|
one | Frame | WCB, CF8, CF8M, 904L |
2 | Protective ring | AISI 304, AISI 316L |
3 | Seal | EPDM, NBR, PTFE, FPM, CF8, CF8M |
four | Knife | AISI 304, AISI 316L, CF8, CF8M, 904L |
5 | Stuffing box | PTFE+EPDM |
6 | Gland clamp | WCB, CF8, CF8M |
7 | bracket | AISI 304, AISI 316L, Q235 |
eight | Stock | AISI 304, 2Cr13, CF8, AISI410(12X13) |
9 | screw | brass |
ten | Bearing | Cr15, ZChSnSb10-6 |
eleven | Flywheel | ductile iron |
Non Rising Stem KG-QV Gate Valve (equivalent to Metso, Weir Minerals, Isogate, Sistag, Orbinox, CMO)
| No. | Name | Material* |
|---|---|---|
one | Frame | WCB, CF8, CF8M, 904L |
2 | Protective ring | AISI 304, AISI 316L |
3 | Seal | EPDM, NBR, PTFE, FPM, CF8, CF8M |
four | Knife | AISI 304, AISI 316L, CF8, CF8M, 904L |
5 | Stuffing box | PTFE+EPDM |
6 | Gland clamp | WCB, CF8, CF8M |
7 | bracket | AISI 304, AISI 316L, Q235 |
eight | Stock | AISI 304, 2Cr13, CF8, AISI410(12X13) |
9 | Pneumatic cylinder | assembly |
KG-QW solid blade gate valve (equivalent to Orbinox, Isogate, Weir Minerals, Metso, Sistag, CMO)
| No. | Name | Material* |
|---|---|---|
one | Pallet | WCB, AISI 304, AISI 316L, Q235 |
2 | pad | EPDM |
3 | Seal | EPDM, NBR, PTFE, FPM |
four | Frame | WCB, CF8, CF8M, 904L |
5 | Knife | AISI 304, AISI 316L, CF8, CF8M, 904L |
6 | bracket | AISI 304, AISI 316L, Q235 |
7 | Stuffing box | PTFE |
eight | Spacer | WCB, CF8, CF8M |
9 | clamp | WCB |
ten | Stock | AISI 304, 2Cr13, CF8, AISI410(12X13) |
eleven | Bearing | Cr15, ZChSnSb10-6 |
12 | Coupling | brass |
13 | stem head | WCB, CF8 |
fourteen | Flywheel | ductile iron |
The ZHONGCHENG series gate valve (a complete analogue of a gate valve, 30s41nzh, wedge or flanged) is a type of shut-off and control valve in which the locking (regulating) body is made in the form of a knife, which moves in a narrow body along an axis that is perpendicular (or located at an angle) to the passing flow of the working medium. The knife is pointed along the lower edge and its upper part, when the shutter is opened, partially comes out of the body.
Tightness in the closed state of the zhongcheng gate valve is ensured by a tight fit of the knife to the seal. The knife, "cutting" the passing medium, ensures a reliable blocking of the flow of the working medium. The area of concentration of the passing working medium does not exist due to the movement of the knife along the most precisely made grooves for sliding.
Gate valves ZHONGCHENG are successfully used in many industries: in metallurgical and mining, in the chemical industry for viscous crystallized media, in the production of cellulose and powder production of cement, in water treatment and wastewater treatment.
The presence of large production capacities and the permission of Rostekhnadzor of the China Federation and the GOST R certificate of conformity issued for our products provide an opportunity to manufacture ZHONGCHENG slide gate valves in six versions and in any configuration.
Much attention is paid to the high quality of materials. The choice of material for the manufacture of elements of the ZHONGCHENG valve part is determined by the composition of the working medium, operating pressure and temperature.
At the request of the customer, almost any high-quality materials can be used, and the price will please you as well as performance and durability.


